Περίληψη: Το μέλλον των ηλεκτρονικών συσκευών θα είναι αναδιπλούμενο και σε αυτό θα συμμετάσχει και η Apple. Αυτό τουλάχιστον δείχνει η πατέντα που κατέθεσε...
7 Φεβρουαρίου , 2020 • 1 MIN READ

7 Φεβρουαρίου , 2020 • 1 MIN READ
Περίληψη: Το μέλλον των ηλεκτρονικών συσκευών θα είναι αναδιπλούμενο και σε αυτό θα συμμετάσχει και η Apple. Αυτό τουλάχιστον δείχνει η πατέντα που κατέθεσε...
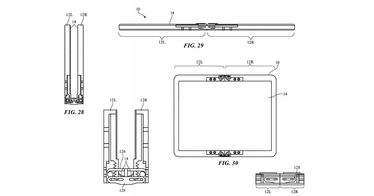
Μια από τις τεχνολογίες που αναμένεται να αλλάξουν ριζικά τον χώρο της mobile τεχνολογίας τα επόμενα χρόνια είναι οι αναδιπλούμενες οθόνες. Η αρχή έγινε με τη Samsung και το Galaxy Fold και ακολούθησαν πολλά foldable laptop στη φετινή CES. Μέσα στο 2020 περιμένουμε πως θα παρουσιαστούν ακόμα περισσότερες foldable συσκευές, οι οποίες όμως θα είναι Android ή Windows. Τι γίνεται με την Apple - θα συμμετάσχει κι αυτή στο νέο trend; Όπως δείχνει μια πατέντα, την οποία κατοχύρωσε η εταιρία από το Cupertino, η απάντηση είναι καταφατική και μάλιστα υπόσχεται να λύσει ένα βασικό θέμα των αναδιπλούμενων συσκευών.
Σύμφωνα με τα σχέδια που κατέθεσε η Apple, η συσκευή που παρουσιάζεται διαθέτει έναν μηχανισμό αναδίπλωσης οθόνης, ο οποίος δεν διπλώνει το πάνελ στη μέση. Αντί η οθόνη να «τσακίζει» στη μέση, αυτή θα «κλείνει» δημιουργώντας μια καμπύλη που θα στεγάζεται εντός του μηχανισμού αναδίπλωσης. Έτσι δεν θα δημιουργούνται εμφανή σημάδια εκεί που διπλώνει η οθόνη. Η συγκεκριμένη τεχνική φαίνεται παρόμοια με αυτή που χρησιμοποιεί και η Motorola. Η αναβίωση του θρυλικού Moto RAZR έχει κι αυτή foldable οθόνη, που δεν διπλώνει στη μέση όταν είναι κλειστή.
Εδώ να θυμίσουμε, βέβαια, πως η πατέντα δεν αποτελεί εγγύηση ότι η Apple εργάζεται αυτή τη στιγμή επάνω σε αναδιπλούμενη συσκευή. Είναι ξεκάθαρο, όμως, πως η εταιρεία δεν θέλει να βρίσκεται εκτός παιχνιδιού, όταν οι αναδιπλούμενες οθόνες τελειοποιηθούν. Αν και όποτε έρθει η ώρα να παρουσιάσει η Apple foldable συσκευή, αυτή ίσως είναι κάποια έκδοση του iPad και όχι του iPhone. Πάντα με βάση την πατέντα, βλέπουμε πως η συσκευή που παρουσιάζεται φέρνει περισσότερο σε ένα μεγάλο tablet που διπλώνει, παρά σε foldable smartphone.
Το αν το σχέδιο θα μετουσιωθεί σε προϊόν, μένει να φανεί. Εμείς πάντως, ως λάτρεις της τεχνολογίας, σίγουρα θα θέλαμε να δούμε την Apple να ανταγωνίζεται και στην κατηγορία των foldable συσκευών!